[ WAA Home | ProjeX Home | Download ProjeX | Help using ProjeX | ProjeX FAQ | About WAA]


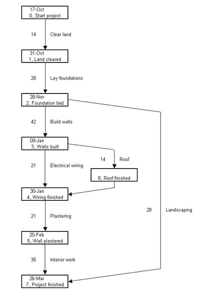
Earliest Start Time

We need to find the earliest start date for each of the nodes. For the first first node (the start of the project) this is our start date. The next node is the earliest start of the previous node plus its duration and so on through the project to give :

What next?


Search this site powered by FreeFind


Copyright Mike Witcombe of WAA, 1996-2016.  This page was last updated on April 18, 2016
Please review our privacy policy.
For problems or questions regarding this web site contact [mail@witcombe.net].